凉山彝族女衫形制与结构特征研究
周雯,陈璐,杜佳灿
摘 要:四川凉山地区作为彝族最大的聚集地,因其经济、社会及环境多种因素,凉山彝族服饰保留了较多的古制,具有很高的研究价值。然而,目前关于凉山彝族服饰的研究概述居多而实证偏少,地域分类为主而时代特征区分不足。本文以四川师范大学服装与设计艺术学院收藏的实物服装为样本,通过考据、测绘和结构分解,并结合文献和田野调查进行分析,整理和归纳凉山彝族女衫的形制与结构特征,对民族传统服装的数据和信息进行有益补充。
关键词:凉山彝族;彝族服装;服装结构;服装裁剪;百褶长裙;罩衣;上衣下裙
研究背景
彝族是中国西南地区人口最多、分布最广的一个少数民族,主要居住在川、滇、黔、桂四省[1]。历史上的彝族人民一直过着游牧生活,在不断迁徙的过程中逐渐分散在不同地区,形成多个分支[2],造就了彝族服饰的丰富多样。加之其服饰与宗教、节日、婚礼、丧葬等关系密切,因而彝族服饰不仅种类繁多,其文化内涵也极为宽广。按照地域分布、支系语言和服饰特点,彝族服饰可分为凉山型、乌蒙山型、红河型、楚雄型、滇东南型和滇西型[1]。其中,凉山型服饰主要见于四川省凉山彝族自治州及毗邻县区,主要的特点是厚重、朴实、保暖和耐穿,其传统服饰因社会经济、山川地势和交通等因素保留比较完整,具有很高的研究价值。近年来,关于凉山彝族服饰研究大多集中于凉山彝族服饰的艺术特征和民俗文化等方面,缺少时代特征、结构技术及样本支撑。因此,本文依托学院收藏的服装实物进行数据测绘分析,以期为后续相关研究提供参考。
位于四川省西南部的凉山彝族自治州是中国最大的彝族聚集地,大致分为三大方言区:以诺方言区、圣扎方言区和所地方言区。三个方言区的男装形制结构,尤其是男裤有比较大的区别。但其女装的形制结构差异不大,大多是右衽大襟长衫搭配半袖罩衣,下装搭配分段式百褶长裙,主要区别体现在色彩、纹样和饰物搭配。套装上衣中的内层长衫一般不单独外穿,属无衬里单衣,小“A”廓形,长度至膝,大襟右衽,贴脖圆领,袖口偏小,侧缝开衩,因搭配半袖罩衣穿着而装饰相较简单,通常于露出的底摆、袖口、领口处有彩条或二方连续纹样装饰。半袖罩衣套在长衫外面穿着,小圆领,右衽大襟,偶有对襟,同样是“A”形轮廓,长度通常比内衫短,领口、门襟、袖口和底摆处装饰有布条和贴花,并镶嵌数道牙条,层次感丰富。长衫和半袖罩衣的色彩纹样和装饰工艺和谐统一,但半袖罩衣工艺更复杂,装饰面积更大。两者套穿再搭配百褶长裙,在视觉上呈现出疏密变化、线面组合、层次分明、节奏感强。
1. 样本服饰的考据
本文选取了四川师范大学服装与设计艺术学院收藏的三套样本服饰,着重研究其上衣。笔者在田野考察期间,拜访了一位居住在雷波县八寨乡擅长制作传统服饰的彝族老妈妈。据她介绍,这些样本服饰来自以昭觉县和美姑县为代表的以诺方言区,属于非常传统的凉山彝族服装。过去是地主阶层的款式,后来随着经济的发展和社会的进步逐渐平民化,制作年代从面料材质、装饰形式和工艺技法推测大致在20世纪50—80年代,即凉山地区1949年后而家用缝纫机还未普及前,刚好与收藏信息相符。如表1所示,三套样本无论是与现在市面上售卖的日常女装还是节日盛装相比,其形制结构传统,配色纹样简约,全手工制作略显粗糙,所展现的审美明显不在同一时期,这也是选取其作为研究对象的原因。

表1 样本女套装实物图
Tab.1 Real pictures of sample women’s suits
1.1 形制称谓界定
周讯等著的《中国衣冠服饰大辞典》定义:“中国历代服装形制繁复,千姿百态,然就式样而言,仅两种基本形制:一为上衣下裳制,一为衣裳连体制。”《中国少数民族服饰》在此基础上又把少数民族服装形制又分为批裹式、贯头式、长袍(衫)式、上衣下裙(裤)式和连衣裙式[3]。《释名·释衣服》释:“妇人以绛作衣裳,上下连,四起施缘,亦曰袍。”长袍具有上下连属,连体通裁的特征[4],至民国时期,长袍仍保持这种稳定的特征,衣长过膝,多搭配小立领、右衽大襟、两侧开衩。少数民族服装中的长袍作为衣裳连属制的长外衣,多采用动物皮毛、毛制品、夹棉等保暖材质,是北方少数民族传统服装的主要形制。而长衫在形制上与长袍相似,多为棉麻和丝织材质,较长袍更为轻薄,多见于西南少数民族服装。上衣下裙式形制是南方少数民族主要的服装类型,主要指短上衣和半裙或裤子的组合搭配。凉山彝族样本套装虽符合上衣下裙的组合形式,但其上衣衣长至膝、单层无里等款式特点更贴近连体通裁的长衫形制,加之很多相关研究成果都称之为“衫”,因此本文称样本中的女式内层上衣为“女衫”。
而套装中的外套称谓“罩衣”,没有确切的历史溯源。20世纪80年代有学者开始系统研究彝族服饰,相关专家在其成果中都提及“彝族妇女上身穿衬衫和罩衣”[5-6],其中“衬衫”指内层长衫,而“罩衣”便指外套,两者皆属于更贴近现代化和生活化的民间说法。罩衣相较长衫而言,大体形制相近,区别在于长度和宽度,尤其是袖子的长度,一般在手肘附近,因而很多学者又称其为“半袖罩衣”。《释名·释衣服》云:“半袖,其袂块,襦而袍袖也。”半袖的形制自古有之,发展至唐朝尤为普及,彼时多称作“半臂”,两袖宽大而平直。虽然其衣身造型各个时代不尽相同,但袖大至肘的形制稳定至今。表2为本文三套样本的女衫和罩衣款式图。

表2 样本女衫和罩衣款式图
Tab.2 Pictures of sample blouses and outerwear styles
1.2 面料年代推测
如表3所示,样本上衣面料几乎都是组织结构简单的纯棉平纹织物,疵点较多,纱支较稀,染色不均,目测是手工织造而成的土布,包括最常见的本色土布和蓝染土布。缪良云[7]著《中国衣经》中描述这种面料布身厚实,质地坚牢,由于大多用低级棉花纺制棉纱,故棉结杂质较多,布面粗糙,以前贫困地区用作较厚实的衣衫。冯敏[8]研究认为:“凉山气候寒冷,产麻少棉,而又易于畜养牛羊。由于交通不便,与外界交流甚少。故服装以毛、麻为主要原料……中华人民共和国成立以后,彝族多穿棉布。”因而初步判断样本应是1949年成立后的服装。从上衣的拼接缝头大都为经向布边,可以判断样本一、二的上衣面料幅宽在32~34 cm,样本三的面料幅宽在63~65 cm。布料幅宽与织布机密切相关,现代工业化生产的机械纺织面料幅宽通常最小为36英寸(约90 cm)。而民间土布中的“小布”门幅在7~9寸(约23~30 cm);“大布”幅宽是“小布”的两三倍[9]。由此可见,样本面料应该不是机织产物而确是民间土布。样本一、二主料基本符合小布幅宽,样本三主料符合大布幅宽。蒋志聪《凉山彝族服饰》中提及当地的服装面料,20世纪50年代有用棉布,60年代物资匮乏用棉花捻线、棉线织布,70年代小面积使用卡其、平绒等棉布,80年代后,陆续广泛使用毛呢、纤维、棉纤混纺。在20世纪60—80年代,土布在服装中的广泛应用正是源自人们自给自足的需求。综上,通过面料基本可以判断样本服装制作时期最有可能在20世纪50—80年代。样本一和样本二的百褶裙由厚重的毛麻织物拼合而成,样本三的百褶裙与其女衫质地相近,为染色深浅不一的纯棉平纹土布。由于百褶裙存在后期人为搭配成套而非原配的可能,与上衣的制作年代或有差距,因此其面料不作为推测依据。

表3 样本女上衣面料图
Tab.3 Pictures of fabricof sample blouse
1.3 制作工艺考据
首先,三件样本全手工制作,无机器代工痕迹,主要用绗针和缲针完成裁片拼合和嵌条固定,加之线迹略显粗糙,局部针法不统一,初步判断是以家庭为制作单位的手工产物,如表4所示。20世纪60、70年代,家用缝纫机是流行的奢侈品,到了80年代成为中国普通家庭的标配[10]。作为经济滞后的凉山地区,普及时间稍晚一些,因而那个年代的很多彝族服装都是全手工完成。20世纪90年代后,机器制作才逐步替代手工制作,尤其是衣片的拼合基本由缝纫机完成。其次,样本服装相较于现在同类型女装,装饰材质单一,面积偏小,手法简单,运用较多的是盘花、贴花、补花和镶嵌的传统技法,主要装饰在领口、大襟和袖口,以斜料条纹镶绲为主,开合方式都采用传统的一字盘扣。作为盛装和婚服的样本一、二最隆重的设计,仅在开衩处加入了火镰纹、云头纹和窗格纹装饰,并搭配了织带饰边。其织带经纬稀疏,松紧不均,二方连续纹样大小不等,包括羊角纹、牛角纹等纹样,应是手工编织而成。这些细节传达了很多信息,一是受经济环境影响,服装的制作条件有限;二是服装的设计和制作朴实传统,未受到外来文化的影响;三是服装的手工方式较统一,可见技术环境较封闭。由此,推断服装制作年代应在20世纪90年代之前。

表4 样本女衫和罩衣工艺细节图
Tab.4 Detailed drawings of sample blouses and outerwear craft
2. 样本女衫的形制与结构
本文选取的三个样本,首先同为以诺方言区服饰,形制结构相似,具有区域代表性;其次制作年代相近,材质、工艺和装饰基本统一,具有时代典型性;最后三个样本同为成年女性服饰,既可以日常穿着,也适用于不同的特殊场合。三者虽然有相似性,但结构数据和构成细节仍有差异,如表5所示。
表5 样本罩衣与女衫结构及分解图
Tab.5 Structure and decomposition diagram of sample outerwear and blouses

2.1 样本一:常服女衫形制与结构
样本一为凉山州昭觉地区的彝族女式常服。据考察,这款服装搭配丰富的饰品也可作为婚服。样本款与常见的女衫套装有些区别,首先主面料为本白色土布,点缀面积不大且色彩朴素,显得比较雅致;其次内衫长度比罩衣短,因而不外露。
女衫和罩衣均是以前后中线和肩线为基准的十字形结构,前后中线破缝。女衫通袖长152.0 cm,袖口60.0 cm,前长115.5 cm,比后长多3.0 cm,推测是为穿着时达到衣身平衡,这在凉山彝族女装中比较少见。其侧缝和中缝都有开衩,从正面目测,开衩的起点在同一水平线上。罩衣通袖长136.0 cm,袖口78.0 cm,前后同长为118.5 cm,两侧侧缝开衩。两者侧缝均加三角形裁片放摆,形成“A”廓形,右衽大襟呈“厂”字形,一字盘扣扣合,被遮挡的底襟只到腰节附近,其毛边未经处理。女衫和罩衣的领口分别为圆形和椭圆形,女衫领口直径为9.5 cm,罩衣的直开领为10.0 cm,横开领为12.5 cm,套穿在身刚好能露出女衫缘边。
2.2 样本二:婚服女衫形制与结构
样本二出自昭觉地区,底色均为藏青色,装饰橙黄色系贴布纹样和织带,视觉冲击力很强,层次感丰富,既可作为婚服,也可作为盛装出席节日活动。凉山彝族新娘服与常服、盛装形制上基本相同,过去一般由新娘自己缝制,穿戴时搭配繁复漂亮的头饰“窝嘎”、耳饰“那略”、胸饰“则则福”和盖头“勒播”[11]。样本二女衫比罩衣长,套穿时露出缘边装饰;侧缝和中缝均有开衩,走动时露出百褶长裙,增加韵律感。
样本二女衫和罩衣同样是十字形结构,前后中线破开。女衫通袖116.0 cm,袖口62.0 cm,前后同长105.0 cm,侧缝有三角形放摆;罩衣通袖106.0 cm,袖口82.0 cm,有翻折边,衣长94.0 cm,侧缝有梯形放摆。女衫和罩衣均为一字盘扣扣合的“厂”形右衽大襟,其直开领分别为11.0 cm和11.5 cm,横开领分别为10.0 cm和12.5 cm,差值刚好都为1.0 cm,符合现代服装合体圆领结构特征。样本领襟边缘部分和侧开衩位置呈三层加固状态,主面料加内外层贴边,其中内层贴边采用另一种面料,明显是剩料利用,但胜在牢固。
2.3 样本三:葬服女衫形制与结构
样本三是来自美姑地区的一套葬衣——蓝黑相间的单层女衫搭配百褶裙,同样可作为中老年人常服,新衣可作为葬服。凉山彝族非常注重丧礼,认为死亡是告别此生走向下一个世界的分界,其仪式既是对死者的尊重,也是对生命的尊重[12]。《越西厅志·夷人志》记载彝族人死后“焚于野,掷散其骸骨”,逝者通常穿着全新葬服“格模”,放在木柴堆上焚烧。女式葬服的款式是女衫加百褶长裙的组合,色彩以黑色、蓝色和白色为主,形制与常服差别不大,因为当地人认为人死后必须穿着祖先认识的服饰,才能被接纳归宗,因而寿衣必须固守旧俗。
样本三为全新单层女衫,质地偏薄,同样是传统十字结构,但与样本一、二不同的是,前后中缝未破开,衣身相对完整,底襟另裁与衣身右肩相接,从而形成重叠量。相对而言,样本三的主片结构更完整,剩料利用的痕迹不明显,究其原因或是由于经济条件转好,生产力技术支持幅宽更大的面料产出,或是更多考虑寿衣乃人生终点的礼仪服饰,不宜太过俭省。领襟处的黑色贴布装饰,近看之下是由渐变宽度的5层布条构成。
三套样本服饰的领襟缘边装饰刚好呈现面积的大小和造型的夸张变化,如图1所示。这是凉山彝族服饰独具一格的特色,并延续至今,现在甚至有整个领口和胸部都是这种形态的造型装饰。
3. 凉山彝族女衫结构特征分析
3.1 大一统下的双重结构特征
凉山彝族女衫辨识度比较高,而且不同方言区的服饰各具特色。但这种特色主要由表征装饰决定,其主体结构承袭肩线和前后中心线为水平及垂直轴线的十字形平面直线裁剪结构,与中华传统服饰形制结构一脉相承,具有中华传统服饰的共同基因[13]。原始朴素的“十字形、整一性、平面化”结构面貌贯穿于中国几千年的历史,延续至民国初年[14],而凉山彝族传统女装将之延续至今。正因为这种结构特征,其裁剪方式是直线形裁剪,主体裁片以矩形为主,根据面料幅宽确定分割线位置,基本做到整裁整用,缝头不经处理也不容易滑丝[15]。

图1 领襟缘边装饰变化
Fig.1 Changes in collar edge trim decorations
中国少数民族服装通常具有双重性结构特征[16],其服装主要裁片为第一层结构,附于衣片上的拼布、缎带、刺绣等装饰形成第二层结构。第一层结构是中华传统服饰的大一统基因,第二层结构才是不同族群间相互区别的重要特征。正是这种双重结构的特征,造就了既高度统一,又丰富多样的中华民族传统服饰,如表6所示。
表6 样本服装双重结构图
Tab.6 Dual structure drawings of sample garments

第二层结构所在位置都是比较容易毛边和磨损的边缘位置,如领口、门襟、袖口、开衩和下摆。所以其第二层结构不仅是装饰,更起到耐磨的功能性作用。《礼记·深衣》中就有记载:“具父母,大父母,衣纯以缋。具父母,衣纯以青。如孤子,衣纯以素,纯袂,缘纯边,广各寸半。”自古汉服就有着领襟和袖口根据不同的家庭状况而装饰不同材质的缘边。至清末,女性的领襟、袖口和衣摆均讲究绣工边饰。与精美外观形成反差的是,凉山彝族女衫大都无内衬,反面露出各种手工线迹、布料毛边,但凡被遮挡的位置几乎都不做任何修饰处理。这与凉山物资的匮乏,彝族人民节俭的习惯及务实的态度相关。
3.2 结构与裁剪中的因材施制
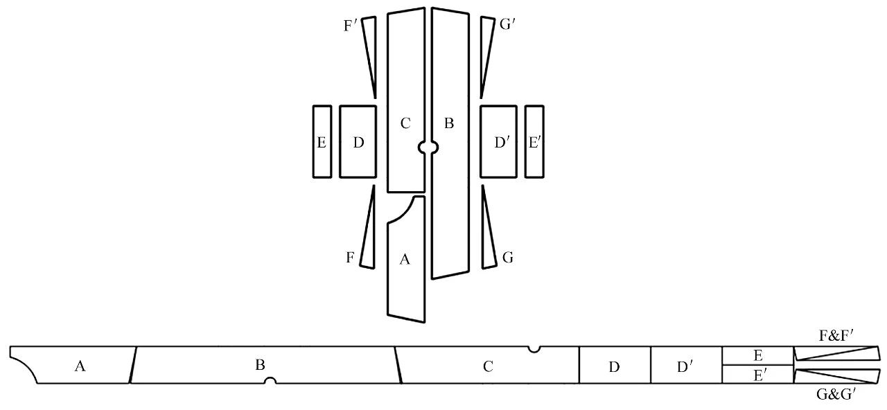
凉山彝族女衫无论是样本服装的拼接结构还是裁剪排料,都承载了制作者因材施制的智慧。首先,体现在缝头的宽度。现代服装缝头通常为1.0 cm,而样本服装的缝头仅0.3 cm左右,但由于裁片边缘几乎都是布边,所以不容易滑丝。其次,第二层装饰结构也有很多拼接。通常这种拼接不在某一固定位置,而是根据材料的长度和使用需求进行拼接。然后,布幅决定拼接位置,最大限度提高了面料利用率。如图2所示,从样本一女衫的复原结构图和排料图可以看出,主要裁片包括衣身A、B、C和袖片D、D’的宽度在30.0~31.0 cm,实物缝头约0.3 cm,由此推测出布料的幅宽应该在31.0~32.0 cm。袖口E、E’的宽度为15.0 cm左右,加上缝头,左右两片刚好凑成一个布料幅宽。四个三角形放摆F、F’、G、G’上下倒置拼合,也正好利用同一长度布料幅宽。这种排料方式尽可能减少了浪费,实现了因材施制。
4. 凉山彝族女衫的形制发展
历史上对凉山彝族女衫有详细记载可以追溯到唐朝时期。《新唐书·列传·南蛮下》载:“妇人衣黑缯,其长曳地。又有东钦蛮二姓,皆白蛮也,居北谷。妇人衣白缯,长不过膝。”宋代《太平寰宇记·四夷·松外诸蛮》载:“男子以毡皮为衣,女子絁布为裙衫,仍披毡皮之帔。头髻有发,一盘而成,形如髻,男女皆跣。”明朝《九夷考》描述:“倮倮……妇人纽发蟠头上,身着绣花长衣,无袴赤足,外披细毡衫覆之。”清朝《邛巂野录》载:“女着花衣长裙,披发跣足,带金银耳环如帐钩样。”但这些史料无相应图像可考证,只能透过字里行间获知其整体装束的大致面貌,最典型特点即盘发、长衣、披毡、跣足,而女衫具体样式非常模糊。直到清代的《皇清职贡图》图文并茂地展现了四川各地区彝族男女服饰。从其图像和文字可以获知,清代的凉山彝族妇女装束基本延续前朝典型特点,挽髻束青帕,着长衫细褶裙,披毡于背,跣足不履,如表7所示。其女衫和罩衣的形制也逐渐清晰,身宽而长,多开侧衩;袖口偏窄,便于劳作;门襟既有直领对襟也有右衽大襟;领型囊括中国传统衣领的基本形制中的直领、交领、圆领和立领[17];扣合方式有领襟系扣、门襟系带和腰带缠绕;装饰比较模糊,但从图像线条推测以缘边拼接和镶绲为主。这个时期的凉山彝族女衫形制比较混杂,既有明朝汉服风貌——交领、系带、披风形制等;也有清朝服饰元素——立领、大襟、盘扣等,抛开配饰、披毡、跣足等典型特征,女衫和罩衣的地域性特色并未十分明显。

图2 凉山彝族女衫主要裁片排料复原示意
Fig.2 Restoration diagram of main cut piece layout of Liangshan Yi women’s blouse

表7 《皇清职贡图》凉山及周边地区彝族妇女服饰
Tab.7 Yi women’s clothes & accessories of Liangshan and surrounding areas in Royal Tribute Picture of Qing Dynasty
续表7
注:整理自《皇清职贡图》卷六第52—96页。
民国时期,凉山彝族女衫形制基本趋于同质化,与样本服饰接近。1943年,林耀华先生在《凉山夷家》这样描述当地女子服饰:“女子上衣,略似男子,惟衣襟袖口多缀花边……下体无裤,束以长裙,裙有层褶,杂间各色。”《庄学本全集》中大量的珍贵照片更是直观呈现出当时的凉山服饰风貌,除了保留挽髻裹帕、长衣褶裙、跣足披毡的特点外,女衫的形制由混杂变为统一,上衣宽大,长度至膝,两侧开衩,袖口窄小,贴脖圆领,“厂”形大襟右衽,搭配分层百褶长裙,如图3[19]所示。此时圆领或立领大襟右衽长衫成为主流形制,凉山彝族女衫中的汉服元素几近消失,形似满族服装,有当时的政治和历史原因。清政府成立以后,强制推行了“剃发易服”政策,虽然西南少数民族暂缓执行,且后有“十从十不从”的权宜之计,女装未纳入强制执行范畴,但清朝服饰成为礼仪正统,对各民族服饰变迁产生了很大影响。很多民族服饰在清朝前后的差异较大,确实有“满化”的痕迹。但从客观上讲,服饰文化的交流和影响是相互的,各民族服饰在流变中形成了大一统之下的多元化特色。

图3 民国时期凉山地区彝族女装
Fig.3 Yi women’s wear in Liangshan area during the period of the Republic of China
本文将凉山彝族样本罩衣与同属外套类型的满族女褂(故宫博物院藏)、汉族女袄(民族服饰博物馆馆藏)进行比较,如图4所示,可见三者整体形制差异并不大。但从结构细节可以发现,样本罩衣的小圆领和前中开衩与满族女褂趋同,而汉族女装多为立领,前中不开衩;从装饰细节可以发现,其领襟装饰造型与满族女褂的“错襟”领口一致。“错襟”多见于晚清时期满族服饰,领缘绣片在前中破缝,并拼接襟缘绣片,而汉族女装多为领襟绣片一体的“顺襟”领口[20]。由此可见,凉山彝族女装比汉族女装“满化”更严重,而正是这种经过交流和融合的服饰特色,为其增添了典型的时代特征。

图4 样本罩衣与满族女褂、汉族女袄对比
Fig.4 Comparison between Yi women’s sample outerwear and Manchu women’s coat, Han women’s coat
结语
本文通过对实物样本的考据和测绘,结合史料文献和田野调查,对凉山彝族传统女衫的形制和结构进行了复原和分析,得到凉山彝族女衫具有大一统下的双重结构特征,裁剪工艺充满因材施制的智慧;然后梳理了自唐朝以来其形制的变化,并与清末满汉交融后的传统主流女装进行了比较,发现其细节更接近清朝女装,印证了中华服饰在历史进程中所呈现的民族交流与融合。
(参考文献略,请参阅原文)
作者简介
周雯(1981--),女,副教授,主要从事民族传统服饰艺术、服装结构与工艺的研究(四川师范大学 服装与设计艺术学院)。
本文来源于《丝绸》2022年第2期。

文章评论